▌紅色店家指南
紅色店家指南 Google Maps 之前分享過,作者相同。
本次短網址不同(製作短網址,每次不同)店家由 449 家增加至 1,591 家。
https://maps.app.goo.gl/HQVKwksW2NK5x5s66
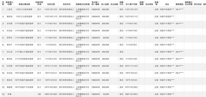
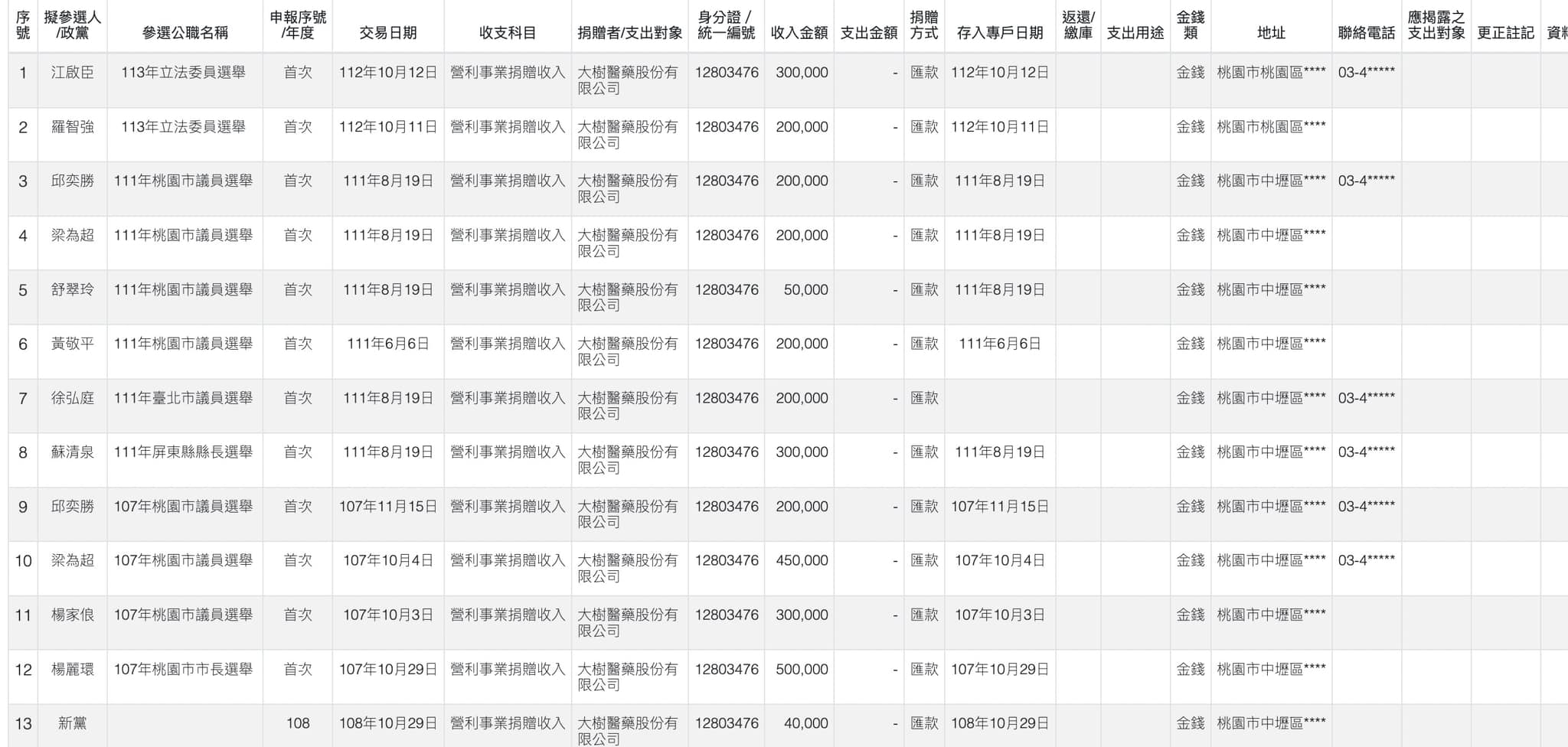
▌大樹藥局
大樹藥局政治獻金
| 序號 | 擬參選人/政黨 | 參選公職名稱 | 交易日期 | 捐贈者/支出對象 | 統一編號 | 支出金額 |
|---|---|---|---|---|---|---|
| 1 | 江啟臣 | 113年立法委員選舉 | 112年10月12日 | 大樹醫藥股份有限公司 | 12803476 | 300,000 |
| 2 | 羅智強 | 113年立法委員選舉 | 112年10月11日 | 大樹醫藥股份有限公司 | 12803476 | 200,000 |
| 3 | 邱奕勝 | 111年桃園市議員選舉 | 111年8月19日 | 大樹醫藥股份有限公司 | 12803476 | 200,000 |
| 4 | 梁為超 | 111年桃園市議員選舉 | 111年8月19日 | 大樹醫藥股份有限公司 | 12803476 | 200,000 |
| 5 | 舒翠玲 | 111年桃園市議員選舉 | 111年8月19日 | 大樹醫藥股份有限公司 | 12803476 | 50,000 |
| 6 | 黃敬平 | 111年桃園市議員選舉 | 111年6月6日 | 大樹醫藥股份有限公司 | 12803476 | 200,000 |
| 7 | 徐弘庭 | 111年臺北市議員選舉 | 111年8月19日 | 大樹醫藥股份有限公司 | 12803476 | 200,000 |
| 8 | 蘇清泉 | 111年屏東縣縣長選舉 | 111年8月19日 | 大樹醫藥股份有限公司 | 12803476 | 300,000 |
| 9 | 邱奕勝 | 107年桃園市議員選舉 | 107年11月15日 | 大樹醫藥股份有限公司 | 12803476 | 200,000 |
| 10 | 梁為超 | 107年桃園市議員選舉 | 107年10月4日 | 大樹醫藥股份有限公司 | 12803476 | 450,000 |
| 11 | 楊家俍 | 107年桃園市議員選舉 | 107年10月3日 | 大樹醫藥股份有限公司 | 12803476 | 300,000 |
| 12 | 楊麗環 | 107年桃園市市長選舉 | 107年10月29日 | 大樹醫藥股份有限公司 | 12803476 | 500,000 |
| 13 | 新黨 | - | 108年10月29日 | 大樹醫藥股份有限公司 | 12803476 | 40,000 |
統計摘要
- 總筆數: 13筆
- 支出總金額: 3,340,000元
林裕人:「你每一次的消費,都是為你想要的世界投票」
原來大樹藥局捐獻這麼多個爭議性國民黨參選人與新黨政治獻金。
▌ 政治獻金查閱平臺 暫停服務
監察院業務費遭立法院刪 96%,辦理系統移建作業中。
▌參考資料
紅色店家指南 Google Maps 之前分享過,作者相同,但本次短網址不同(製作短網址,每次不同)。
https://maps.app.goo.gl/HQVKwksW2NK5x5s66?g_st=ac

